LillyAllenDesigns
Jasminsmagicworld
BarkalooDesign
Artiststas
AdoDesignShop
JahusDesignShop
BundleAndBundleShop
HRA Design Shop
FaDigitalArtStudio
[email protected]
OliviaCreatesArt
CowGirlArtShop
HowdyJamesFarm
TumblerDesignByShophia
RanaPortraitStore
CTS Tumbler Store
Zillion Design Studio
NancyCooperArtShop
Texasbilliewilder
MaliasSmallBusiness
Muks_Shop
Rvexell
NReaL
Oittostudio
Nteklah
Melllux
PUBLICTEES
Gear_desain
Erdiyan
C
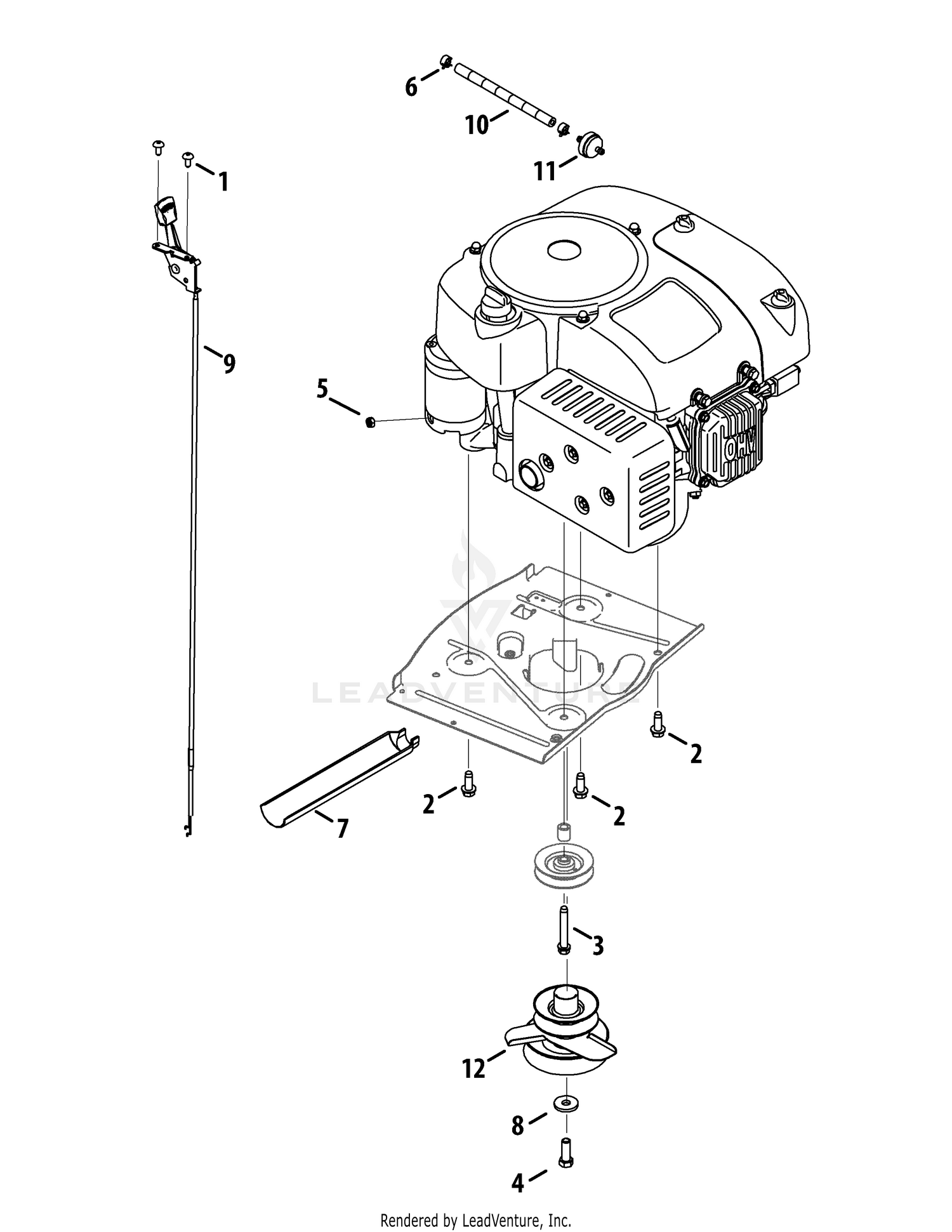
Troy Bilt TB 30 R 13B226JD066 Troy Bilt 30 Very well made.
Troy Bilt 13B226JD066 TB30 2015 TB30R Neighborhood Rider Very well made.
Troy Bilt 13B226JD066 TB30 TB30R Neighborhood Rider 15 Lawn Very well made.
Troy Bilt 13B226JD066 2013 TB30 R Neighborhood Rider 13B226JD066 Very well made.
Replacement belt for TROY BILT 95404331 riding mower Very well made.